- Country
- Hungary
- Manufacturer / Brand
- Telefongyar, Terta (TRT, Export = Orion); Budapest
- Year
- 1958 ?
- Category
- Broadcast Receiver - or past WW2 Tuner
- Radiomuseum.org ID
- 151479
-
- Brand: Terta, TRT
Click on the schematic thumbnail to request the schematic as a free document.
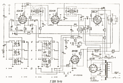
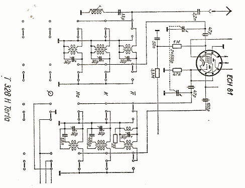
- Number of Tubes
- 5
- Main principle
- Superheterodyne (common); ZF/IF 473,6 kHz
- Wave bands
- Broadcast, Long Wave and Short Wave.
- Power type and voltage
- Alternating Current supply (AC) / 110; 127; 150; 220 Volt
- Loudspeaker
- Permanent Magnet Dynamic (PDyn) Loudspeaker (moving coil) - elliptical
- Power out
- 2 W (unknown quality)
- Material
- Wooden case
- from Radiomuseum.org
- Model: T328H - Telefongyar, Terta TRT, Export
- Shape
- Tablemodel with Push Buttons.
- Dimensions (WHD)
- 230 x 350 x 526 mm / 9.1 x 13.8 x 20.7 inch
- Notes
- SW: Marine band.
- Net weight (2.2 lb = 1 kg)
- 12 kg / 26 lb 6.9 oz (26.432 lb)
- Source of data
- Radio es Televizio Vevö Keszülekek, 1958-59
- Author
- Model page created by Sándor Selyem-Tóth. See "Data change" for further contributors.
- Other Models
-
Here you find 219 models, 204 with images and 55 with schematics for wireless sets etc. In French: TSF for Télégraphie sans fil.
All listed radios etc. from Telefongyar, Terta (TRT, Export = Orion); Budapest