Tungsram Orion 88 export for CS market
Orion; Budapest
- Country
- Hungary
- Manufacturer / Brand
- Orion; Budapest
- Year
- 1937/1938
- Category
- Broadcast Receiver - or past WW2 Tuner
- Radiomuseum.org ID
- 23364
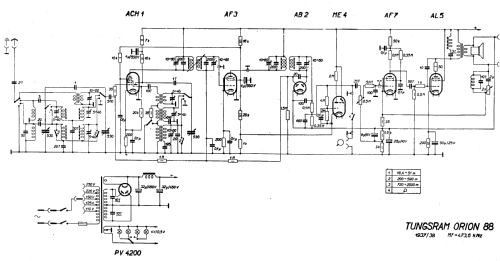
Click on the schematic thumbnail to request the schematic as a free document.
- Number of Tubes
- 7
- Main principle
- Superheterodyne (common); ZF/IF 485 kHz
- Tuned circuits
- 7 AM circuit(s)
- Wave bands
- Broadcast, Long Wave and Short Wave.
- Power type and voltage
- Alternating Current supply (AC) / 110-250 Volt
- Loudspeaker
- -Loudspeaker incorporated, but system not known.
- from Radiomuseum.org
- Model: Tungsram Orion 88 [export for CS market] - Orion; Budapest
- Notes
-
Produced by Orion for CS market under Tungsram trade mark, because Tungsram Bratislava started production in 1938 only.
- External source of data
- Erb
- Source of data
- Ceskoslovenske prijimace 1933-1945, Baudys 1947
- Other Models
-
Here you find 1031 models, 878 with images and 401 with schematics for wireless sets etc. In French: TSF for Télégraphie sans fil.
All listed radios etc. from Orion; Budapest