Stuttgart 37GW
Wega, Württembergische Radio-Ges. mbH; Stuttgart, Fellbach
- País
- Alemania
- Fabricante / Marca
- Wega, Württembergische Radio-Ges. mbH; Stuttgart, Fellbach
- Año
- 1936/1937
- Categoría
- Radio - o Sintonizador pasado WW2
- Radiomuseum.org ID
- 3909
-
- alternative name: Württemb. Radio-Ges.mbH; Stuttgart
Haga clic en la miniatura esquemática para solicitarlo como documento gratuito.
- Numero de valvulas
- 4
- Principio principal
- RFS con reacción (regenerativo); 1 Especial; 1 Etapas de AF
- Número de circuitos sintonía
- 2 Circuíto(s) AM
- Gama de ondas
- OM y OL
- Tensión de funcionamiento
- Red: Aparato AC/DC. / 110-240 Volt
- Altavoz
- Altavoz dinámico (de imán permanente)
- Material
- Madera
- de Radiomuseum.org
- Modelo: Stuttgart 37GW - Wega, Württembergische Radio-
- Ancho, altura, profundidad
- 500 x 300 x 210 mm / 19.7 x 11.8 x 8.3 inch
- Peso neto
- 12.7 kg / 27 lb 15.6 oz (27.974 lb)
- Precio durante el primer año
- 240.00 RM
- Procedencia de los datos
- HandB.d.d.Rundfunk-Handels 1936/37 / Radiokatalog Band 1, Ernst Erb
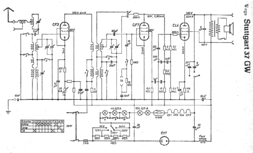
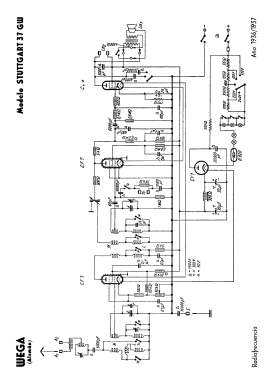
- Referencia esquema
- Lange+Schenk+FS-Röhrenbestückung
- Otros modelos
-
Donde encontrará 673 modelos, 599 con imágenes y 393 con esquemas.
Ir al listado general de Wega, Württembergische Radio-Ges. mbH; Stuttgart, Fellbach