NF-Telefonrundspruch 36Z/36I
Zellweger AG; Uster
- Hersteller / Marke
- Zellweger AG; Uster
- Jahr
- 1936 ?
- Kategorie
- NF-Drahtfunk-Empfänger (NF-Telefonrundspruch)
- Radiomuseum.org ID
- 13830
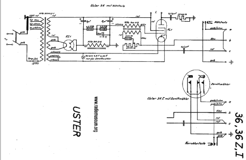
Klicken Sie auf den Schaltplanausschnitt, um diesen kostenlos als Dokument anzufordern.
- Anzahl Röhren
- 2
- Hauptprinzip
- NF-Verstärkung
- Wellenbereiche
- - ohne
- Spezialitäten
- NF-Drahtfunk (Telefonrundspruch)
- Betriebsart / Volt
- Wechselstromspeisung / 110; 125; 145; 220 Volt
- Lautsprecher
- Dynamisches System?
- von Radiomuseum.org
- Modell: NF-Telefonrundspruch 36Z/36I - Zellweger AG; Uster
- Bemerkung
- 2 Schemas...; NF-TR
- Datenherkunft extern
- E. Erb 3-907007-36-0
- Datenherkunft
- Radiokatalog Band 2, Ernst Erb
- Schaltungsnachweis
- Die «Thali Schemasammlung» führt das Modell.
- Weitere Modelle
-
Hier finden Sie 80 Modelle, davon 59 mit Bildern und 25 mit Schaltbildern.
Alle gelisteten Radios usw. von Zellweger AG; Uster