Phono-Super 650GW
Braun; Frankfurt
- Country
- Germany
- Manufacturer / Brand
- Braun; Frankfurt
- Year
- 1949/1950
- Category
- Broadcast Receiver - or past WW2 Tuner
- Radiomuseum.org ID
- 1290
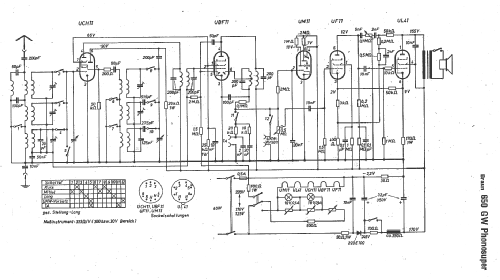
Click on the schematic thumbnail to request the schematic as a free document.
- Number of Tubes
- 6
- Number of Transistors
- Semiconductors
- Tr.Gl.=Metal-rectif.
- Main principle
- Superheterodyne (common); ZF/IF 468 kHz
- Tuned circuits
- 6 AM circuit(s)
- Wave bands
- Broadcast, Long Wave and Short Wave.
- Details
- Record Player (perh.Changer)
- Power type and voltage
- AC/DC-set / 110/220 Volt
- Loudspeaker
- Permanent Magnet Dynamic (PDyn) Loudspeaker (moving coil)
- Material
- Wooden case
- from Radiomuseum.org
- Model: Phono-Super 650GW - Braun; Frankfurt
- Dimensions (WHD)
- 600 x 380 x 350 mm / 23.6 x 15 x 13.8 inch
- Source of data
- Radiokatalog Band 1, Ernst Erb
- Circuit diagram reference
- Lange Schaltungen der Funkindustrie, Buch 2
- Picture reference
- Das Modell ist im «Radiokatalog» (Erb) abgebildet.
- Other Models
-
Here you find 1068 models, 938 with images and 655 with schematics for wireless sets etc. In French: TSF for Télégraphie sans fil.
All listed radios etc. from Braun; Frankfurt