- Pays
- Italy
- Fabricant / Marque
- CGE, Compagnia Generale di Elettricità; Milano
- Année
- 1967
- Catégorie
- Récepteur de télévision ou moniteur
- Radiomuseum.org ID
- 165142
Cliquez sur la vignette du schéma pour le demander en tant que document gratuit.
- No. de tubes
- 14
- No. de transistors
- 2
- Semi-conducteurs
- Principe général
- Super hétérodyne (en général); FI/IF 38900/33400 kHz
- Gammes d'ondes
- Bandes en notes
- Tension / type courant
- Alimentation Courant Alternatif (CA) / 220 Volt
- Haut-parleur
- HP dynamique à aimant permanent + bobine mobile
- Puissance de sortie
- 1.5 W (qualité inconnue)
- Matière
- Boitier en bois
- De Radiomuseum.org
- Modèle: TS3702 - CGE, Compagnia Generale di
- Forme
- Modèle de table profil bas (grand modèle).
- Remarques
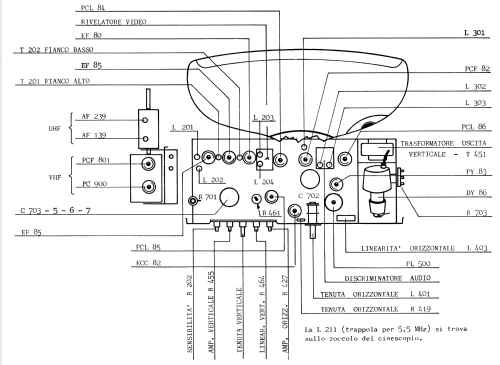
- Cinescopio 19" 2 prese d'antenna (UHF VHF) per ingresso bilanciato a 300 ohm.
- Schémathèque (1)
- -- Schematic (-)
- Auteur
- Modèle crée par Eduard Abfalterer. Voir les propositions de modification pour les contributeurs supplémentaires.
- D'autres Modèles
-
Vous pourrez trouver sous ce lien 323 modèles d'appareils, 261 avec des images et 238 avec des schémas.
Tous les appareils de CGE, Compagnia Generale di Elettricità; Milano