Privat W - Ultramar SB 7360 W
Körting-Radio; Leipzig, später Grassau
- Hersteller / Marke
- Körting-Radio; Leipzig, später Grassau
- Jahr
- 1935/1936
- Kategorie
- Rundfunkempfänger (Radio - oder Tuner nach WW2)
- Radiomuseum.org ID
- 2412
-
- anderer Name: Dietz & Ritter GmbH, Dr.
Klicken Sie auf den Schaltplanausschnitt, um diesen kostenlos als Dokument anzufordern.
- Anzahl Röhren
- 11
- Hauptprinzip
- Superhet allgemein; ZF/IF 485 kHz
- Anzahl Kreise
- 8 Kreis(e) AM
- Wellenbereiche
- Langwelle, Mittelwelle und Kurzwelle.
- Betriebsart / Volt
- Wechselstromspeisung / 110-240 Volt
- Lautsprecher
- 2 Lautsprecher
- Material
- Gerät mit Holzgehäuse
Die GFGF Zeitschrift Funkgeschichte bringt interessante Artikel zu Radios, Funkwesen und Medien. Bei Radiomuseum.org finden Sie die vollständigen Hefte früherer Ausgaben als PDF zum Download.
- von Radiomuseum.org
- Modell: Privat W - Ultramar SB 7360 W - Körting-Radio; Leipzig, später
- Bemerkung
-
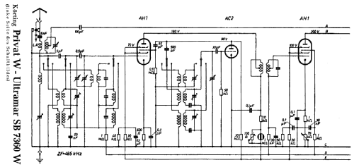
Der Zusatz Privat W zum Modellnamen Ultramar SB 7360W ist bisher nur in der Literatur bei Lange / Nowisch "Empfänger-Schaltungen der Radio-Industrie" Band 3, S. 284-285 bekannt, sowie in Katalogen (z.B. Radio-web 1935-36) wird die Schatulle mit Körting privat bezeichnet.. Das Schaltbild entspricht den Modellen
die das gleiche Chassis enthalten.
Concertop.=Strässer.
- Datenherkunft
- Radiokatalog Band 1, Ernst Erb
- Schaltungsnachweis
- Lange-Nowisch
- Literatur/Schema (1)
- Lange / Nowisch, "Empfängerschaltungen der Radioindustrie" (Band 3, S. 284-285)
- Weitere Modelle
-
Hier finden Sie 822 Modelle, davon 675 mit Bildern und 473 mit Schaltbildern.
Alle gelisteten Radios usw. von Körting-Radio; Leipzig, später Grassau