- Paese
- Austria
- Anno
- 1936/1937
- Categoria
- Radio (o sintonizzatore del dopoguerra WW2)
- Radiomuseum.org ID
- 9773
Clicca sulla miniatura dello schema per richiederlo come documento gratuito.
- Numero di tubi
- 8
- Principio generale
- Supereterodina (in generale); ZF/IF 128 kHz
- N. di circuiti accordati
- 7 Circuiti Mod. Amp. (AM)
- Gamme d'onda
- Onde medie (OM), lunghe (OL) e corte (OC).
- Tensioni di funzionamento
- Alimentazione a corrente alternata (CA) / 110-240 Volt
- Altoparlante
- AP elettrodinamico (bobina mobile e bobina di eccitazione/di campo)
- Materiali
- Mobile in legno
- Radiomuseum.org
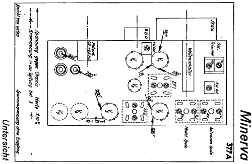
- Modello: 377A - Minerva-Radio Radiola-
- Forma
- Soprammobile basso, con andamento orizzontale (grosse dimensioni).
- Annotazioni
-
Self antenna made by connecting the power supply network to the antenna socket of the device through an insulation capacitor. By inserting the external antenna the connection is deactivated.
Tone control. Phone input.
- Peso netto
- 16 kg / 35 lb 3.9 oz (35.242 lb)
- Prezzo nel primo anno
- 620.00 ATS
- Fonte esterna dei dati
- E. Erb 3-907007-36-0
- Fonte dei dati
- Radiokatalog Band 2, Ernst Erb
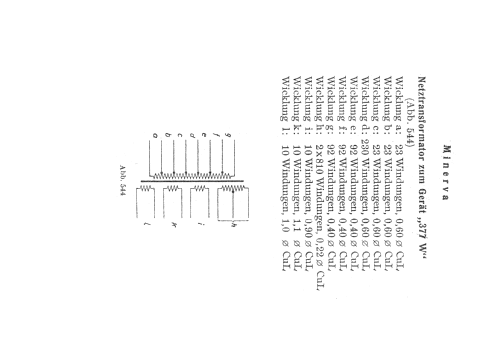
- Riferimenti schemi
- Lange + Schenk
- Letteratura / Schemi (1)
- Schemario di apparecchi radio a valvole (II edizione, D.E. Ravalico - Hoepli - 1945)
- Altri modelli
-
In questo link sono elencati 629 modelli, di cui 567 con immagini e 451 con schemi.
Elenco delle radio e altri apparecchi della Minerva-Radio (Radiola-Radioapparate und Bestandteile W. Wohleber & Co) ; Wien