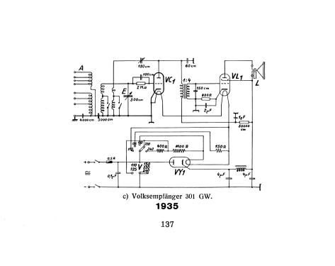
Volksempfänger VE301GW
Nora, Aron, Heliowatt; Berlin
- Country
- Germany
- Manufacturer / Brand
- Nora, Aron, Heliowatt; Berlin
- Year
- 1935–1938

- Category
- Broadcast Receiver - or past WW2 Tuner
- Radiomuseum.org ID
- 216667
Click on the schematic thumbnail to request the schematic as a free document.
- Number of Tubes
- 3
- Main principle
- TRF with regeneration; 1 AF stage(s)
- Tuned circuits
- 1 AM circuit(s)
- Wave bands
- Broadcast (MW) and Long Wave.
- Power type and voltage
- AC/DC-set / 110; 125; 150; 220; 240 Volt
- Loudspeaker
- Magnetic loudspeaker (reed) of high quality (free mooving - only possible past 1931).
- Material
- Bakelite case
- from Radiomuseum.org
- Model: Volksempfänger VE301GW - Nora, Aron, Heliowatt; Berlin
- Shape
- Tablemodel, high profile (upright - NOT Cathedral nor decorative).
- Dimensions (WHD)
- 280 x 385 x 177 mm / 11 x 15.2 x 7 inch
- Notes
- VE301GW, das Allstromgerät, welches mit modernen V-Röhren das Gleichstrommodell VE301G ablöste.
Da nur Rückwand und meist das Typenschild den Hersteller zeigen, kann nicht immer nach diesem sortiert werden. Im übrigen sind die Produkte der verschiedenen Hersteller identisch.
Eine Auflistung aller deutschen Hersteller ist hier zu finden.
- Net weight (2.2 lb = 1 kg)
- 5 kg / 11 lb 0.2 oz (11.013 lb)
- Author
- Model page created by Konrad Birkner † 12.08.2014. See "Data change" for further contributors.
- Other Models
-
Here you find 634 models, 557 with images and 343 with schematics for wireless sets etc. In French: TSF for Télégraphie sans fil.
All listed radios etc. from Nora, Aron, Heliowatt; Berlin
Collections
The model Volksempfänger is part of the collections of the following members.