- País
- Alemania
- Fabricante / Marca
- Seibt, Dr. Georg (Nachf.); Berlin, auch München
- Año
- 1936/1937
- Categoría
- Radio - o Sintonizador pasado WW2
- Radiomuseum.org ID
- 5678
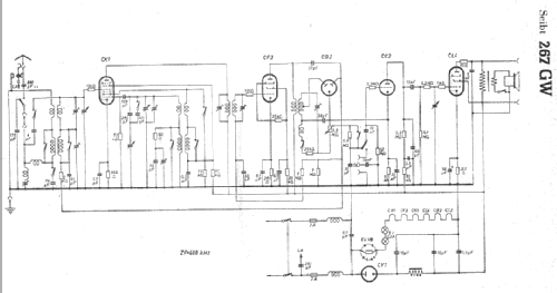
Haga clic en la miniatura esquemática para solicitarlo como documento gratuito.
- Numero de valvulas
- 6
- Principio principal
- Superheterodino en general; ZF/IF 468 kHz
- Número de circuitos sintonía
- 5 Circuíto(s) AM
- Gama de ondas
- OM y OL
- Tensión de funcionamiento
- Red: Aparato AC/DC. / 110-240 Volt
- Altavoz
- Altavoz electrodinámico (bobina de campo)
- Material
- Madera
- de Radiomuseum.org
- Modelo: 267GW - Seibt, Dr. Georg Nachf.;
- Ancho, altura, profundidad
- 535 x 313 x 259 mm / 21.1 x 12.3 x 10.2 inch
- Anotaciones
- Feldstärkeanzeige «Wellenvisier»
- Peso neto
- 14 kg / 30 lb 13.4 oz (30.837 lb)
- Precio durante el primer año
- 285.00 RM
- Procedencia de los datos
- HandB.d.d.Rundfunk-Handels 1936/37 / Radiokatalog Band 1, Ernst Erb
- Referencia esquema
- Lange+Schenk+FS-Röhrenbestückung
- Referencia ilustración
- Das Modell ist im «Radiokatalog» (Erb) abgebildet.
- Otros modelos
-
Donde encontrará 416 modelos, 357 con imágenes y 204 con esquemas.
Ir al listado general de Seibt, Dr. Georg (Nachf.); Berlin, auch München