- País
- Alemania
- Fabricante / Marca
- Stern-Radio Staßfurt, VEB, RFT (Ostd.) - vorm. Staßfurter (Stassfurter)...
- Año
- 1953/1954
- Categoría
- Radio - o Sintonizador pasado WW2
- Radiomuseum.org ID
- 16741
- 
        - alternative name: Fernsehgerätewerk Staßfurt
 
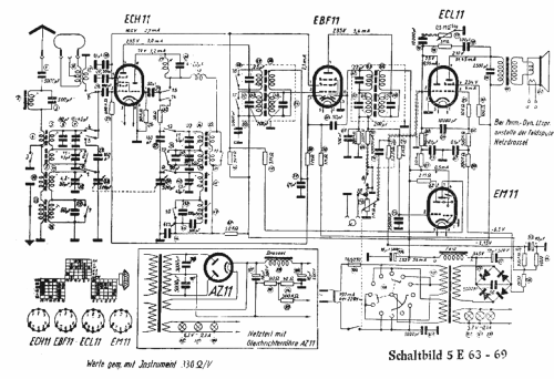
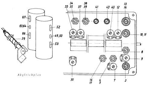
Haga clic en la miniatura esquemática para solicitarlo como documento gratuito.
- Numero de valvulas
- 5
- Numero de transistores
- Semiconductores
- Tr.Gl.=Metal-rectif.
- Principio principal
- Superheterodino en general; ZF/IF 468 kHz; Modelo de Exportacion
- Número de circuitos sintonía
- 6 Circuíto(s) AM
- Gama de ondas
- OM y más de dos OC
- Tensión de funcionamiento
- Red: Corriente alterna (CA, Inglés = AC) / 110-240 Volt
- Altavoz
- Altavoz electrodinámico (bobina de campo) / Ø 20 cm = 7.9 inch
- Material
- Madera
- de Radiomuseum.org
- Modelo: Stassfurt 5E68 - Stern-Radio Staßfurt, VEB, RFT
- Forma
- Sobremesa apaisado (tamaño grande).
- Ancho, altura, profundidad
- 550 x 365 x 250 mm / 21.7 x 14.4 x 9.8 inch
- Anotaciones
- 
        .Exportmodell, tropenfest. MW und 3 KW-Bereiche: 25...13,3 m; 50...25 m; 150...50 m. Elektrisch aufgebaut wie Chassis 5E63 (nur AM). Als 5U68 auch in Allstromausführung. 
- Peso neto
- 12.2 kg / 26 lb 14 oz (26.872 lb)
- Ext. procedencia de los datos
- E. Erb 3-907007-36-0
- Procedencia de los datos
- Radiokatalog Band 2, Ernst Erb
- Mencionado en
- Deutsche Funk-Technik (Deutsche Funktechnik) [DDR] (1953 H.9, S. 273.)
- Otros modelos
- 
        Donde encontrará 400 modelos, 325 con imágenes y 312 con esquemas. 
 Ir al listado general de Stern-Radio Staßfurt, VEB, RFT (Ostd.) - vorm. Staßfurter (Stassfurter)...
 
                
                
               