Carabela FE-123 /23 Ta
Telefunken Radiotécnica Ibérica; Getafe
- Country
- Spain
- Manufacturer / Brand
- Telefunken Radiotécnica Ibérica; Getafe
- Year
- 1963
- Category
- Television Receiver (TV) or Monitor
- Radiomuseum.org ID
- 194905
Click on the schematic thumbnail to request the schematic as a free document.
- Number of Tubes
- 17
- Valves / Tubes
- PCC88 PCF80 EF183 EF80 EF80 PCL84 ECH84 EF80 PCL86 ECH81 EAA91 PCL82 PCF82 PL36 PY88 DY86 AW59-90
- Number of Transistors
- Main principle
- Superheterodyne (common); 2 AF stage(s)
- Wave bands
- VHF incl. FM and/or UHF (see notes for details)
- Power type and voltage
- Alternating Current supply (AC) / 125; 220 Volt
- Loudspeaker
- 2 Loudspeakers
- Material
- Wooden case
- from Radiomuseum.org
- Model: Carabela FE-123 /23 Ta - Telefunken Radiotécnica
- Shape
- Tablemodel, high profile (upright - NOT Cathedral nor decorative).
- Notes
-
Telefunken Radiotécnica Ibérica, S.A., FE-123 /23 Ta
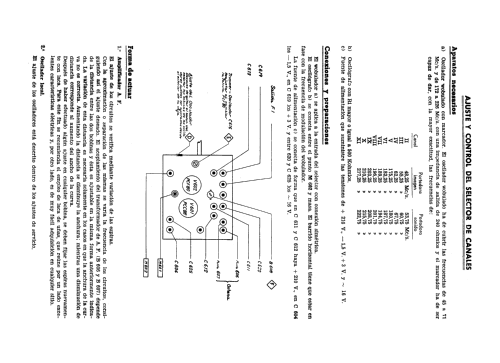
TV B/N con selector rotativo de VHF y TRC de 23"e
- Price in first year of sale
- 22,900.00 ESP
- Mentioned in
- Anuncio La Vanguardia Española octubre 1962
- Literature/Schematics (1)
- -- Original-techn. papers. (Esquemario TV REDE, Tomo II, 1964)
- Author
- Model page created by Miguel Bravo-Cos. See "Data change" for further contributors.
- Other Models
-
Here you find 377 models, 300 with images and 267 with schematics for wireless sets etc. In French: TSF for Télégraphie sans fil.
All listed radios etc. from Telefunken Radiotécnica Ibérica; Getafe