Schaltungsanalyse zu Transistorradios, Prinzip Superhet
Schaltungsanalyse zu Transistorradios, Prinzip Superhet
Das Sammeln von Radios hat mehrere Aspekte oder Faszinationen, nicht nur das Aussehen und die Geschichte wie bei den meisten anderen Sammelobjekten. Der wohl interessanteste ist das Erlernen der Technik, die dahinter steckt - und die Faszination der Elektromagnetischen Wellen.
Das Radio bildet den Grundstein für die modernen drahtlosen elektronischen Kommunikationsmittel und für Vieles mehr.
Natürlich muss man zuerst die Wirkungsweise der einzelnen Bauteile und etwas über Schwingungen kennen, wofür wir Texte aus "Radios von gestern" haben. Auch findet sich da eine "kleine Schaltungslehre" (Schaltungsbeschreibung) mit Beispiel Schaltungsanalyse eines Röhren-AM-Superhets. Zudem gibt es eine interessante Artikelfolge in der uns der Entwickler Hans M. Knoll in die Details eines Röhren-Grosssupers führte. Den theoretischen Hintergrund liefert der Beitrag über die AM Demodulation von Dietmar Rudolph. Beim Erklären für einen Jugendlichen (für eine Abiturarbeit) wurde mir bewusst, dass wir bis jetzt keine Schaltungsanalyse zum meist verwendeten Transistor-Superhet zeigen.
Zum Glück brachten meine Anfragen an bei uns aktive Entwicklungsingenieure und Radio-TV-Meister den erhofften Erfolg. Starten kann ich mit einem Beitrag zu einem relativ einfachen frühen Transistorradio-Schema. Es ist zwar nicht repräsentativ, wie mir Günther Stabe zu Recht schrieb, denn Mischer/Oszi sind über B/C-Kopplung statt E/C-Kopplung, AVC-Regelung über zwei ZF-Stufen (wie Batterie-Röhren-Portables) statt über die erste, Impedanzwandler als 1. NF-Transistor, eisenloser Ausgang mit unüblichem 60-Ohm-Lautsprecher.
Nach dem Modell mit UKW werden wir noch einen üblichen Mittelwellen-Super einfachr Art vorstellen, z.B. Nordmende Mikrobox 972119A. Dies im Zusammenhang mit einem Projekt, das ich hier verlinken werde, wenn der Thread dort "steht".
Analyse des Mittelwellen-Empfängers,
Sanyo Modell 7C001
durch
Konrad Birkner.
Vielen Dank für seine Arbeit, die vielen hilft, sich in das Gebiet einzuarbeiten. Dank solchen aktiven Mitgliedern wird Radiomuseum.org jeden Tag interessanter und hilft auch junge Menschen für unser Hobby zu gewinnen oder gar zu begeistern - wir haben sicher auch schon die Berufswahl für einige Menschen beeinflusst. Unsere Taten sind einmal das, was von uns übrig bleibt.
Ich habe noch nach ähnlichen Schaltungen geschaut wie z.B. Sanyo 7C-031 oder Sanyo 7C-312.
Konrad hat das Schaltbild um die Farben erweitert, ich habe es unterteilt, damit man direkt im Text vergleichen kann.
Die AVC greift auf zwei Stufen, oft trifft man bei so einfachen Geräten nur auf eine Stufe Regelung.
Nun zum Text von Konrad:
pnp Transistor 1: Oszillator und Mischstufe
Bei dieser selbstschwingenden Mischstufe wird die HF (Rundfunksender) abgestimmt mit dem Drehko CV-1 und der Ferritantenne L1, deren Auskoppelspule den Tr-1 an der Basis speist.
.
Der Arbeitspunkt des Tr-1 wird bestimmt durch R1 und R2 und die Emitterkombination C2 und R3.
Da jede Schwingung um Null herum schwingt, also positive und negative (gleich grosse ) Auslenkungen hat, muss ein Transistor (ebenso wie eine Röhre) am Eingang so viel Vorspannung bekommen (Gleichspannung), dass das Signal nicht einseitig über den Nullbereich des Transistoreingangs hinausgeht. Günstigerweise legt man den Leerlauf in die Mitte der Kennlinie - ausser bei Regelung. Deshalb die Vorspannung (bias) mit R1 / R2. Damit fliesst aber auch ein bestimmter Emitter-Kollektorstrom. Dieser verursacht in der Emitterkombination einen Spannungsabfall so, dass sich zwischen Basis und Emitter eine Spannungsdifferenz ergibt (bei Germanium ca 0,3 V, bei Silizium ca 0,6 V). Je höher also die Basisspannung, desto höher der Emitterstrom und damit die Emitterspannung. Die Differenz bleibt annähernd konstant.
Damit der Emitterwiderstand nicht als Gegenkopplung die Verstärkung verringert, ist er mit einem Kondensator C2 überbrückt, der den Signalwechselstrom kurzschliesst. Somit keine Gegenkopplung.
Tr-1 arbeitet als Oszillator mit der Spule L2 (mit Koppelspule), abgestimmt mit dem Drehko CV-2, der mit CV-1 auf einer gemeinsamen Achse sitzt. Die Rückkopplung erfolgt über C1 zur Basis.
Die Abstimmkreise L1/CV-1 und L2/CV-2 sind so dimensioniert dass ihre Resonanzfrequenzen immer eine etwa konstante Frequenzdifferenz aufweisen, die Zwischenfrequenz ZF.
Tr-1 arbeitet auch als Mischstufe. Eingangs- und Oszillatorfrequenz werden gemischt. Dadurch entstehen zwei Mischprodukte, nämlich die Summe und die Differenz der beiden Frequenzen. Die Summe wird hier nicht benützt. Die Differenz ist die ZF, die im ersten ZF-Filter T1 herausgefiltert und an die Basis Tr-2 geleitet wird.
pnp Transistor 2: 1.ZF-Verstärkerstufe
Basisvorspannung durch R4 und die gegenläufige Regelspannung (von D-1 kommend). Ohne Regelspannung hat der Transistor volle Verstärkung. Je höher die Regelspannung wird, desto geringer wird die Verstärkung. C3 glättet die Regelspannung. Siehe auch bei Diode D-1.
Die Emitterkombination R5/C4 sorgt für die richtige Differenz Basis/Emitter (wie bei Tr-1).
C5 dient der Neutralisation, um Selbsterregung der Verstärkerstufe zu unterbinden.
Der ZF-Kreis T2 leitet das Signal weiter an die Basis Tr-3.
pnp Transistor 3: 2.ZF-Verstärkerstufe
Basisvorspannung durch R4 und die gegenläufige Regelspannung (wie bei Tr-2).
Die Emitterkombination R6/C6 sorgt für die richtige Differenz Basis/Emitter (wie bei Tr-1).
C7 dient der Neutralisation, um Selbsterregung zu unterbinden.
Diode D-1: Demodulation und Regelspannungsgewinnung
Von Tr-3 kommend wird das Signal über den ZF-Kreis T3 an die Diode D-1 geleitet. Dort wird eine Halbwelle abgeschnitten und es bleibt eine Mischung aus einer Niederfrequenzspannung (der Modulation entsprechend) und einer Gleichspannung (entsprechend der Trägeramplitude). Der hochfrequente Anteil (ZF) wird in C8 kurzgeschlossen.
Über einen Widerstand (der mit C9 hochfrequente Anteile unterdrückt = Tiefpass) geht das NF-Signal an den Lautstärkeregler VR und von dessen Schleifer über den Koppelkondensator C10 zur Basis von Tr-4. Ohne C10 würde sich sonst die Basisvorspannung an Tr-4 mit der Stellung des Lautstärkereglers verändern.
Die Gleichspannungskomponente von D-1 kommend bildet die Regelspannung. Sie dient dem Ausgleich unterschiedlicher Empfangsfeldstärken und soll die (gewählte) Lautstärke einigermassen gleich halten.
Hierzu wird bei grossem Empfangssignal eine hohe Spannung gewonnen, welche die ZF-Verstärkung stark reduziert. Bei geringem Eingangssignal steht die maximale Verstärkung zur Verfügung
Dadurch stellt sich ein gewisser Ausgleich ein.
Gleichzeitig wird eine Übersteuerung der ZF-Stufen bei grossem Signal verhindert.
Alles natürlich in bestimmten Grenzen!
C3 ist so gross gewählt, dass die Regelung nicht allzu schnell anspricht, also z.B. der Modulation folgend auch die NF wegregeln würde. Auch bei der Sendersuche ist ein langsameres Ansprechen angenehmer (etwa im Zehntelsekundenbereich).
npn Transistor 4: 1. Niederfrequenzstufe
Vorspannung über R8/R9. Dies ist ein Impedanzwandler, d.h. keine Spannungs- aber Stromverstärkung um die benötigte Leistung für die folgende Stufe zu erreichen. Das Signal steht am Emitterwiderstand R19 und speist die Basis von
pnp Transistor 5: 2. Niederfrequenzstufe, Treiberstufe
Emitterkombination R10/C11. Kollektor speist den Gegentakt-Treibertrafo T4. C12 unterdrückt Schwingneigung (und Klirrfaktor).
C13 und R11 glätten die Speisespannung für Tr-1 bis Tr-5.
pnp Transistoren 6 + 7: 3. NF-Verstärker, Gegentakt-Endstufe
Vorspannung für Tr-6: R12/R14, Emitterwiderstand ist R16.
Vorspannung für Tr-7: R13/R15, Emitterwiderstand ist R17.
Die beiden Sekundärwicklungen von T4 steuern Tr-6 und Tr-7 gegenphasig an.
Die beiden Transistoren sind in Reihe geschaltet und geben das Ausgangssignal symmetrisch zur halben Versorgungsspannung (= 4,5 V) ab.Der Lautsprecher ist über einen Elko (im Schaltbild irrtümlich auch als C1 bezeichnet) wechselstrommässig.mit Masse verbunden. Er wird durch einen Kontakt an der Ohrhörerbuchse abgeschaltet sobald ein Stecker eingeführt ist. Der Ohrhörer wird über einen Reihenwiderstand R18 gespeist. dieser erlaubt die Verwendung von Hörern unterschiedlicher Impedanz, und er verhindert eine Beschädigung der Endstufe bei Kurzschluss weil keine effektiv höhere Belastung als jene durch den Lautsprecher möglich ist (Widerstand 56 Ohm / Lautsprecher 60 Ohm).
SW ist der mit dem Lautstärkeregler verbundene Einschalter.
Da die Schaltung bei der wichtigen Regelspannung keine Daten gibt für den Widerstand Rx (Tiefpass) und Poti VR, hat mir das Mitglied Johann Leber spontan eine Zeichnung und einen Text gesandt. Er war von 1960 bis 1988 bei Schaub-Lorenz Entwickler und Chefentwickler. Seine Geste (eigene Initiative) hat mich sehr gefreut und hilft uns, die Schaltung dort besser zu verstehen:
Ausgehend von einen Kollektorstrom bei T 2 = 1mA (Erfahrunsgswert) ergibt sich bei Re = 1,8 k ein Ue = 1,8 V. Somit eine ungefähre Ub = minus 2,1 V. Diese 2,1 V stellen sich ein bei einen Querstrom R 4 / 68 k ca. 9V - 2,1 V : 68 k = 0,1 mA . Der Querstrom fliesst durch R 2 / Basiswicklung lll Zf / durch D / sowie Rx und RV (Lautsärkeregler ). Den Spannungsabfall an der Diode kann man nur schätzen (ziemlich genau ) weil der Kennlinienverlauf unbekannt ist. Mit 0,3 Volt liegt man nicht sehr daneben. Für Rx und RV bleibt übrig = 9V - 6,9 V (Abfall an R4 ) - 0,3 (Diode ) = 1,8 V.
Betrachtet man nun die Grenzfrequenz Rx mit C9 / 5nF bei ca. 5 kHz, so ergibt sich ein Wert für Rx von ca.6 k. Durch beide Widerstände Rx und RV fliessen 0,1 mA bei 18 k. Für RV bleibt 12 k übrig. Da dieser Wert nicht Handelsüblich ist, tippt Herr Leber auf 10 k.
Die Regelwirkung kann man sich folgendermassen Vorstellen: D und C 8 ist eine Quelle, gespeist von der Auskoppelwicklung T3, die Ihre Spannung ändert, je nach dem wie gross die Zf Hf Spannung ist. Diese veränderliche Spannungsquelle verändert den Querstrom und somit auch die Basisspannungen an den Transistoren 2 und 3 und deren Kollektorstrom (Verstärkung). C 3 ist für die Hf ein Kurzschluss gegen Masse. Eine Anzeige der Regelspannung wäre im Fusspunkt RV durchaus möglich,aber der Grundausschlag des Instruments wäre schon mal 0,1 mA ( Querstrom ) zur Kompensation problematisch. Da einige Werte zu diesem Gerät nicht bekannt sind (in erster Linie wäre der Ruhestrom T2 interessant), sind die Spannungsangaben nur Vermutungen, doch allzu grosse Abweichungen sind es nicht.
EE: Nachtrag vom 23.Apr.11: Regelspannung.
- Gesamter Schaltplan als Übersicht (126 KB)
Für diesen Post bedanken, weil hilfreich und/oder fachlich fundiert.
Schaltungsbeschreibung Minerva UKW-Transistor 611
Wolfgang Bauer hat seine Unterlagen durchsucht nach einer vom Hersteller erstellten Schaltungsbeschreibung. Er wurde fündig und hat sie gescannt. Danach bat ich Martin Renz, ob er den Scan mit einem OCR-Erkennungsprogramm bearbeiten kann, damit ich den Text in Klarschrift bekomme. Beiden Mitgliedern sind wir zu Dank verpflichtet, denn sie haben uns eine interessante Beschreibung eines etwas aufwändigeren Empfängers erschlossen. Danach habe ich die Bilder bearbeitet und einige OCR-Fehler entfernt. Ich habe sicher nicht alle gefunden. Bitte Fehler melden.
Obwohl nur ein Transistor mehr, ist diese Schaltung doch aufwändiger und auch umfassender umschrieben. Sie stammt aus der Minerva Firmenzeitschrift "Minerva Technische Mitteilungen", Ausgabe Januar 1961 (Jänner 1961) ab Seite 26 bis 32 mit Schwerpunkt "Serviceunterlagen "UKW-Transistor". Jede Servicestelle musste beginnen die Transistorentechnik zu erlernen. Wie das Titelblatt zeigt, musste man 6 Jahre vorher (1954) 35 Mal an Stromkosten für den MW-Empfänger Lido 533-B ausgeben (S 0.70 pro Stunde) gegenüber "Taschensuper" von 1960. Übrigens: Der "Volltransistor 570" von 1957/58 scheint das erste Transistorradio von Minerva zu sein.
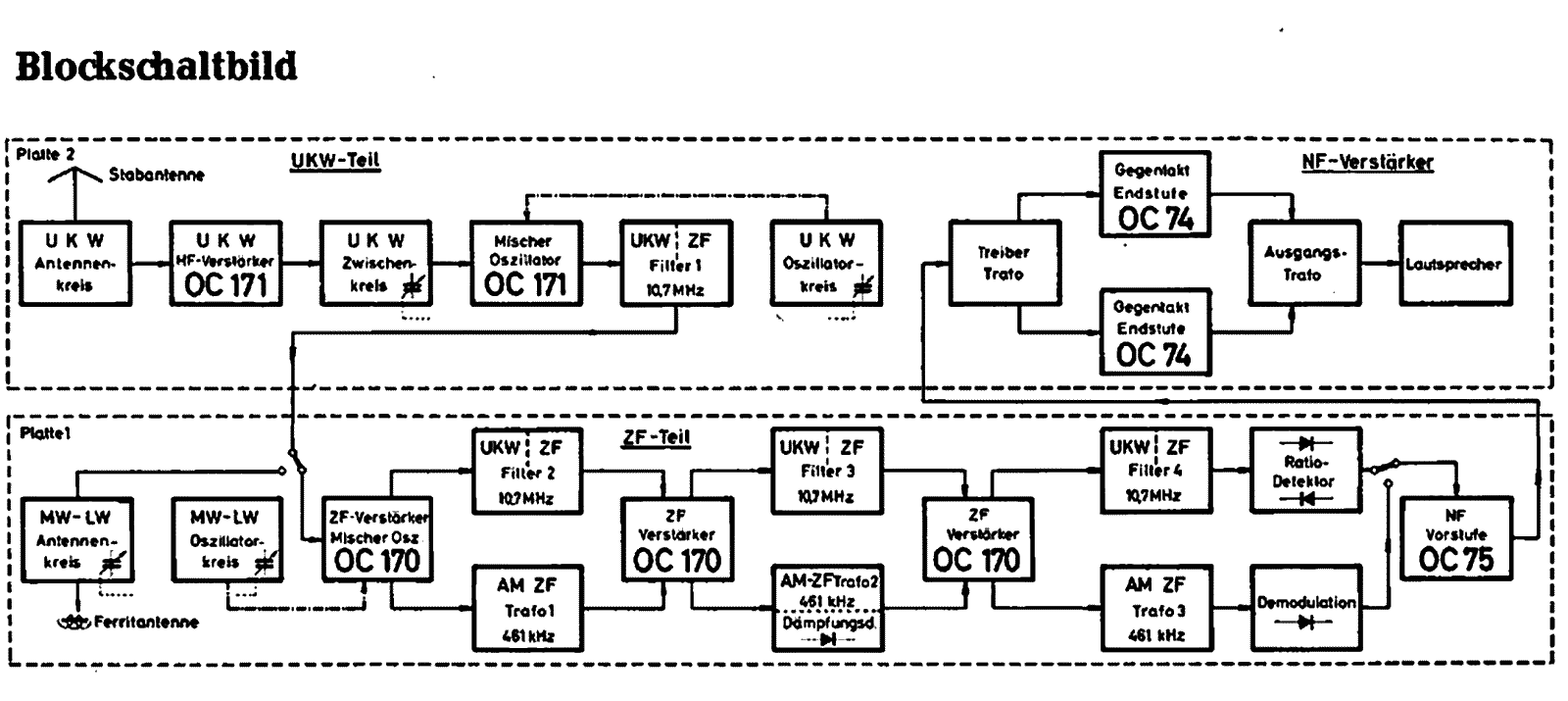
UKW-Transistor 611 von Minerva, Österreich - aus 1960 - mit 8 Transistoren.
Schaltbild und technische Unterlagen finden Mitglieder auf dem Modell.
Das Blockschaltbild sieht so aus (Details ersieht man aus der Anlage mit 1600 Pixel Breite).:
Schaltungsbeschreibung
In unwahrscheinlich kurzer Zeit hat bei den transistorisierten AM-FM-Empfängern der Schaltungsaufbau jenen Stand erreicht, der sich in röhrenbestückten Geräten bereits seit vielen Jahren bestens bewährt hat: UKW-Baustein bestehend aus Hochfrequenzvorstufe und Mischer, AM-Mischstufe umschaltbar als UKW-Zwischenfrequenzverstärker, kombinierte AM-FM-Zwischenfrequenzstufen mit den bisher üblichen Frequenzwerten, getrennter AM-FM-Detektor und gemeinsamer Niederfrequenzverstärker.
Obwohl Röhre und Transistor sowohl physikalisch, wie auch herstellungstechnisch zwei völlig andersgeartete Bauelemente sind, ist - wie übrigens auch das oben abgebildete Blockschaltbild zeigt - nur die Art der Regelung mittels Dämpfungsdiode abweichend vom grundsätzlichen Schaltungsaufbau in Röhrengeräten.
Diese zusätzliche Art der Regelung auf AM ist in Transistorgeräten deshalb notwendig, weil hier Schaltungen mit selbstschwingender Mischstufe vorgezogen werden und der Mischtransistor dann zwecks Erzielung einer gleichbleibenden Oszillatoramplitude nicht geregelt werden kann.
Allerdings steht für diese komplizierte Stufe in einem Fall mit der Triode-Hexode ein siebenpoliges. also ein sehr spezielles Bauelement zur Verfügung, während im anderen Fall ein ganz gewöhnlicher dreipoliger Transistor eingebaut wird, der auch ebensogut für die Verwendung im ZF-Verstärker vorgesehen ist. Ubrigens sind auch besonders in Geräten mit Kurzwellenbereich Schaltungen mit getrenntem Oszillator gebräuchlich, bei denen die Mischstufe geregelt werden kann. Diese Schaltungen weisen dann auch in der Regelung keinen grundsätzlichen Unterschied mehr gegenüber Röhrengeräten auf, sind aber im Aufwand höher und werden daher nur in Ausnahmefällen verwendet.
Die Dimensionierung der Bauteile in Transistorgeräten weicht durch die Eigenschaften der Halbleiterbauelemente bedingt, erheblich von jener in Röhrengeräten ab. Auf diese Unterschiede wird in der nachstehenden Schaltungsbeschreibung des "UKW-Transistor" besonders hingewiesen, wie auch auf die seit Beginn der Lieferungen bis jetzt an diesem Gerät durchgeführten Änderungen.
Der UKW-Eingangsteil
Der zweistufige UKW-Eingangsteil ist mit den neuen diffusionslegierten Transistoren OC171 bestückt.
Diese pnp-Germaniumflächentransistoren arbeiten nach dem Triodenprinzip und sind besonders für den Frequenzbereich bis 100 MHz geeignet. Sowohl der selbstschwingende Mischer als auch der dieser Stufe vorangehende Hochfrequenzverstärker werden in Basisschaltung betrieben. Die Basisschaltung ist für den Betrieb bei hohen Frequenzen weit besser geeignet als die Emitterschaltung, da ihre Grenzfrequenz um einen wesentlichen Faktor höher liegt. Diese SchaItung entspricht der Gitterbasisschaltung bei Röhren und erfordert keine Neutralisation. (Die Transistoren OC171 werden in späteren Lieferungen durch die Typen AF114 für die HF-Vorstufe und AF115 für den Mischer ersetzt).
Auch im Transistorgerät hat die UKW-Vorstufe die bekannten Funktionen der Verstärkung und Vorselektion, der Verbesserung des Signal-Rauschverhältnisses und schließlich noch die der Verminderung der Störstrahlung, die vom Oszillator an die Antenne gelangt, zu erfüllen. Die Spannungsverstärkung dieser Stufe liegt um den Faktor drei. Unter Berücksichtigung der Ein- und Ausgangswiderstände ergibt sich eine Leistungsverstärkung von etwa 10 dB.
Das der schwenkbaren Teleskopantenne entnommene UKW-Signal wird direkt dem UKW-Antennenkreis zugeführt. Eine Autoantenne oder eine entsprechende Behelfsantenne beliefert über eine eigene Buchse den gleichen Eingangskreis über den Kondensatorzweig (C 62) einer LC-Weichenschaltung. Der breitbandige Antennenübertrager L 1/L 2 übernimmt wie üblich die Anpassung des Fußpunktswiderstandes der Viertelwellenantenne an den Transistorverstärkereingang. Die Mittenfrequenz des festabgestimmten Ubertragerkreises liegt bei 94 MHz. Das Ubersetzungsverhältnis des Antennenübertragers beträgt etwa 1 : 1. Damit wird die Impedanz der Stabantenne so an den Kreis angepaßt, daß eine optimale Ubertragung der Antennenenergie gesichert ist.
Die Ankopplung an den Emitter des Vorstufentransistors erfolgt über einen kapazitiven Spannungsteiler C 6, C 7. Die Dimensionierung dieser beiden Kondensatoren ist so getroffen, daß sich eine ausreichende Bandbreite des Eingangskreises ergibt. Eine Neutralisation des Transistors ist nicht vorgesehen. Eine kapazitive Verkopplung des Kollektorkreises mit dem Emitterkreis über die entsprechende Transistorkapazität oder auch eine feste Zusatzkapazität wie beim Oszillator (C 12) wirkt zusammen mit dem Phasenwinkel der Steilheit wie eine Rückkopplung und entdämpft den Eingangskreis. Dieser Effekt, der in der Vorstufe durch die vorhandenen Kapazitäten entsteht, ist daher erwünscht, weil er den ohnehin sehr niedrigen Eingangswiderstand des Transistors um etwa 30 % erhöht.
Die Abstimmung des Kollektorkreises und des Oszillators erfolgt mittels eines Zweifachdrehkondensators, der als Kombinationsdrehkondensator mit den AM-Sektionen zusammengebaut ist. Die Basis der OC1711 wird durch den Kondensator C 8 an die Bezugsmasse angeschlossen, während die Einstellung des Arbeitspunktes durch den Spannungsteiler R 2, R 3 besorgt wird. Die Ankopplung der HF-Vorstufe an die Mischschaltung erfolgt über die kleine Koppelkapazität C 12 (4,5 pF).
Der Transistor OC1712 ist als selbstschwingender, additiver Mischer geschaltet und arbeitet sowohl als Mischer wie auch als Oszillator in Basisschaltung. Die Abbildung unterhalb zeigt das Prinzipschaltbild des Oszillators. Bei der Erläuterung der Funktion des Oszillators darf nicht übersehen werden, daß der Kollektorstrom der am Emitter wirkenden Steuerspannung um etwa 90 Grad nacheilt. Dieser Phasenwinkel wird durch die hohe Betriebsfrequenz, die bereits in der Größenordnung der Grenzfrequenz des Transistors kommt, verursacht. Kollektorstrom und Kollektorspannung besitzen gleiche Phase, da der Arbeitswiderstand im Kollektorkreis - der Schwingkreis L 4, C 2 der die Oszillatorfrequenz bestimmt - bei dieser Frequenz ohmsches Verhalten zeigt. Der Strom im Rückkopplungszweig ist ein kapazitiver Blindstrom und wird dem Betrag und der Phase nach vom Rückkopplungskondensator C 14 bestimmt. Der Wechselstromwiderstand des Emittereingangs ist verglichen mit der Impedanz des Rückkopplungszweiges klein und kann etwa als ohmscher Widerstand betrachtet werden.
Das bedeutet aber, daß die zur Rückkopplung am Emitter zur Verfügung stehende Spannung in Phase mit dem Strom im Rückkopplungszweig ist. Dieser Strom wird, wie bereits erwähnt, durch C 14 bestimmt und eilt dem Kollektorstrom um nicht ganz 90 Grad voraus. Damit sind grundsätzlich die zur Herstellung der Oszillatorschwingung erforderlichen Phasenbedingungen, nämlich Phasengleichheit im Rückkopplungsweg, gegeben. Der Phasenwinkel in der Steuerung des Transistors ist natürlich gewissen Exemplarstreuungen ausgesetzt, da die Grenzfrequenz der Transistorverstärkung als Fertigungsziel absolut keine scharfen Grenzen besitzt. Zur Korrektur dieser Phasenstreuung ist im Emitterkreis das aus L 3 und dem Abgleichkondensator C 11 bestehende Netzwerk vorgesehen. Bei richtiger Einstellung des Trimmers C 11 ergibt sich über den gesamten Abstimmbereich ein sehr gleichmäßiger Schwingstrom. Ein falsch eingesteHter Kapazitätswert des Trimmers C 11 äußert sich durch zu frühes Aussetzen des Oszillators bei Unterspannung (C zu klein) oder durch Uberschwingen des Oszillators bei normaler Betriebsspannung (C zu groß). Die richtig eingestellte Schwingamplitude am Emitter beträgt zwischen 150-250 mV. Eine exakte Messung kann mit einem UHF-Röhrenvoltmeter zwischen Emitter und Basis des Mischtransistors vorgenommen werden.
Parallel zum Abstimmdrehkondensator C 2 befindet sich noch der Trimmer C 17 und der Keramikkondensator C 16. Dieser Kondensator wird genauso wie bei Röhrengeräten zur Kompensation des Temperaturganges herangezogen. Obwohl hier bezüglich Tempelalurstabilisation keine so scharfen Forderungen wie bei Röhrengeräten zu stellen sind, da die Eigenerwärmung durch den Betrieb praktisch wegfällt, so ist man trotzdem bemüht, zwischen 10 Grad C und 50 Grad C keine größeren Abweichungen als 50 kHz zuzulassen.
Der Anschluß der Basis des Mischtransistors an das Massesystem erfolgt durch den Kondensator C 15, während die Gleichstromversorgung der Basis durch den Spannungsteiler R 5, R 6 bewirkt wird. Die Spannungsverstärkung der Mischstufe beträgt etwa 12.
Der gesamte Mischer ist bis zu Batteriespannungen von 5,5 V betriebsfähig. Der Oszillator arbeitet in der oberen Einstellung, d. h. seine Betriebsfrequenz ist um den Betrag der Zwischenfrequenz höher als die Empfangsfrequenz. Der Empfangsbereich der bisher gefertigten Geräte beträgt 87,5 - 100 MHz. Die neue Ausführung des Modells besitzt - der künftigen Senderplanung Rechnung tragend - bereits einen Bereich von 87,5 - 104 MHz.
Im Kollektorkreis des Mischtransistors befindet sich das erste 10.7 MHz-Bandfilter. Die Kopplung beider Kreise erfolgt induktiv, vornehmlich durch eine feste Zusatzkopplung von einigen Windungen am Primärkreis. Als Kreiskapazität auf der Primärseite des Filters wird neben der Kollektor-Basiskapazität des Transistors (3 pF) die Rückkopplungskapazität für den Oszillator C 18 herangezogen. Die auch bei Röhrengeräten angewendete ZF-Entdämpfung wird durch die Größe des Kondensators C 13 festgelegt. Hinsichtlich des Verhaltens bei der Zwischenfrequenz erinnert die Transistorschaltung an ähnlich aufgebaute Schaltungen mit Röhrentrioden. Durch die Rückwirkung der
Kollektor-Basiskapazität erhält der Kollektorkreis eine stark dämpfende Komponente, welche sowohl die Trennschärfe, als auch die Verstärkung der Zwischenfrequenz wesentlich herabsetzt. Die Zwischenfrequenzspannung an der Basis bewirkt eine Spannungsgegenkopplung und setzt den wirksamen Innenwiderstand des Transistors herab. Eine über einen Spannungf!teiler an den Emitter angelegte Zwischenfrequenzspannung ist jedoch in der Lage, nicht nur diesen Effekt aufzuheben, sondern darüberhinaus auch noch andere Dämpfungen des Zwischenfrequenzfilters im Kollektorkreis zu kompensieren.
Das vereinfachte Schaltbild zeigt die für die ZF-Entdämpfung wesentlichen Bauteile. Die Rükkopplungsspannung (Kompensationsspannung) für den Emitter wird durch die Kollektor-Emitterkapazität des Transistors CCE und den Kondensator C 13 bestimmt. C 13 schließt für die Zwischenfrequenz den Emitter auf Masse. Durch entsprechende Wahl der Größe dieses Kondensators kann die verbleibende Spannung am Emitter und somit der Entdämpfungsgrad eingestellt werden. Der in der Schaltung wirkende Dämpfungswiderstand des Kollektorkreises kann so Werte bis 80 kOhm erreichen. Die Auskopplung der Zwischenfrequenz aus dem UKW-Teil erfolgt niederohmig durch eine Zusatzwicklung am Sekundärkreis des Bandfilters.
Die Versorgungsspannung des UKW-Teiles wird durch den Widerstand R 7 und den Elektrolytkondensator C 20 von der durch den Niederfrequenzverstärker verursachten Welligkeit nochmals gesiebt. Auf Mittel- und Langwellen wird diese Spannung im positiven Zweig vom UKW-Teil abgeschaltet. Die Leistungsaufnahme des gesamten UKW-Eingangsteiles beträgt nur 36 mW.
Die Gesamtverstärkung des UKW-Teiles liegt bei etwa 30. Damit kann eine Gesamtempfindlichkeit des Gerätes auf UKW von wenigen Mikrovolt erzielt werden, bei einem Rauschanteil von etwa 10 kTo. Diese Rauschzahl wird in der Hauptsache durch die Vorstufe bestimmt. Mit diesen Zahlen ergeben sich vergleichbare Werte mit röhrenbestückten Netzgeräten.
Der als getrennte Einheit aufgebaute UKW-Teil erlaubt eine einfache Uberprüfung in der Fertigung. Auf
der UKW-Schaltplatte ist neben dem ersten UKW-Zwischenfrequenzfilter auch noch die Niederfrequenzendstufe untergebracht. Dadurch wird eine gute Ausnützung des vorhandenen Bauvolumens erreicht.
Die AM-Mischstufe bzw. MW-LW-Mischstufe
Die Empfangssignale der beiden AM-Bereiche Mi ttel- und Langwellen werden mit dem Transistor
OC170 durch additive Mischung in ZF-Signale verwandelt. Die Transistortype OC170 ist ebenfalls
diffllsionslegiert, weist jedoch mit ca. 50 MHz eine niedrigere Grenzfrequenz auf als die Type OC171 und eignet sich daher besonders für UKW-Zwischenfrequenzstufen. (Neue Typenbezeichnung: AF 116).
Die AM-Mischstufe arbeitet selbstschwingend, das heißt, daß der erste Transistor OC170 gleichzeitig auch die Funktion des Oszillators übernimmt. Von der Eingangsseite her gesehen wird dieser Transistor in Emitterschaltung betrieben. Die Erregung des Oszillators allerdings erfolgt von Kollektor und Emitter aus, also in Basisschaltung. Diese einfache Art der Schaltung weist allerdings den Nachteil auf, daß der Mischtransistor nicht geregelt werden darf.
Eine 140 mm lange Ferritantenne trägt die beiden EingangsspuJengruppen für Mittel- und Langwellen.
Entsprechende Kopplungswicklungen mit nur wenigen Windungen sorgen für die richtige Anpassung der Kreisspulen an den geringen Eingangswiderstand des Transistors.
Wird die Aufnahmefähigkeit der Ferritantenne durch Abschirmwirkungen stark herabgesetzt (z. B. im
Auto). so kann über die Autoantennenbuchse eine Zusatzantenne angeschlossen werden. Diese ist über die Weichenspule L 19 und die Auskopplungswicklung L 20 an den Eingangskreis gekoppelt. Mit L 19 wird gleichzeitig die Resonanz des Antennensystems der Zusatzantenne festgelegt.
Für die AM-Bereiche arbeitet der Transistor OC1701 als Oszillator in Basisschaltung. Allerdings ist für den Frequenzbereich im Gebiet von 1 MHz bis 2 MHz der Phasenwinkel der Steilheit noch sehr klein, so daß hier die übliche induktive Rückkopplung verwendet wird. In Serie mit dem ersten AM-ZF-Filter L 12 befindet sich die Rückkopplungsspule L 9 für den Oszillatorkreis. Parallel zum Oszillatorkreis liegt dußer dem Drehkondensator C 4 und dem Abgleichtrimmer C 27 noch der Einstellregler R 11, der durch entsprechende Bedämpfung des Kreises für eine gleichmäßige Schwingamplitude (ca. 150 - 200 mVeff sorgt. Die Ankopplung an den niederohmigen Emitter erfolgt zwecks Anpassung von einer Anzapfung des Oszillatorkreises. Der Kondensator C 26 muß dabei entsprechend groß gewählt werden, damit für die Zwischenfrequenz keine Gegenspannung entsteht und der Emitter auch für die Empfangsfrequenz geerdet ist.
Die Umschaltung auf den Langwellenbereich erfolgt durch Parallelschalten eines entsprechend
großen Wickeltrimmers zum Oszillatorkreis. Der verwendete Drehkondensator weist einen korrigierten
Plattenschnitt im Oszillatorpaket auf und erspart so den Padding.
Auf UKW wird der Oszillatorkreis vom Emitter abgeschaltet und der Transistor OC1701 arbeitet in
gewohnter Weise als erster UKW-ZF-Verstärker. Die Umschaltung für die Eingangsfrequenz erfolgt im
Basiskreis und für die Zwischenfrequenz im Kollektorkreis. Auf UKW wird dabei gleichzeitig ein Neutralisationszweig zugeschaltet. welcher in den ersten gelieferten Geräten nur fallweise eingebaut, später aber serienmäßig verwendet wurde. Der Neutralisationszweig besteht aus C 24, C 29 und R 12 - siehe das Schaltbild. Die Spannung am Kondensator C 29 ist in Gegenphase zur Kollektorspannung, da C 29 mit der ZF-Spule L 10 und der gesamten Ausgangskapazität ein Pi-Filter bildet. Der Wickeltrimmer C 24 stellt die eigentliche Neutralisationskapazität dar.
Der AM-FM-Zwischenfrequenzverstärker
Der ZF-Verstärker im "UKW-Transistor" arbeitet - wie auch in Röhrengeräten üblich - mit Reihenschaltung der beiden ZF-Kreise, benötigt jedoch zur Erzielung gleicher Verstärkungs- und Trennschärfewerte eine Stufe mehr. Sämtliche Zwischenfrequenzstufen werden zwecks Erzielung höherer Verstärkungswerte in Emitterschaltung betrieben. Bei dieser Schaltungsart ergibt sich gegenüber der Basisschaltung ein etwa zehn mal so großer Eingangswiderstand am Transistor und eine etwa drei mal so große Stufenverstärkung. Nachteilig bei der Emitterschaltung ist die stärkere Verkopplung des Kollektorkreises mit dem Emitterkreis durch die höheren Rückwirkungsleitwerte desTransistors in dieser Schaltung.
Durch geeignete Wahl der Impedanzen der Basis- und Kollektorkreise und zufolge der geringen Rückwirkungskapazität der diffusionslegierten Transistoren konnten beim "UKW-Transistor M" im AM-ZF-Bereich besondere Neutralisierungszweige entfallen.
Zur Ubertragung der hohen Zwischenfrequenz (10,7 MHz) werden Bandfilter verwendet, bei denen
durch eine niederohmige Auskopplung eine Anpassung des hochohmigen Transistorinnenwiderstandes (ca. 50 kΩ) an den niederohmigen Eingangswiderstand der nächsten Stufe (ca. 300 Ω) erfolgt. Wenn hier in Verbindung mit selektiven HF-Verstärkerstufen von Anpassung gesprochen wird, so ist unter dem Begriff Anpassung durchaus nicht eine Anpassung im Sinne von Lastwiderstand = Generatorwiderstand zu verstehen. Anpassung bei selektiven Transistor-HP-Verstärkern kann immer nur unter Berücksichtigung einer Reihe von Nebenbedingungen vorgenommen werden.
Nebenbedingungen sind zum Beispiel:
Trennschärfe (Betriebsgüte) des Koppelkreises, Stabilität der Schaltung gegen Rückwirkungen oder
Selbsterregung (Impedanzwerte auf Basis und Kollektorseite), Unempfindlichkeit der Schaltung gegen
Exemplarstreuungen der Transistoren, Regelstabilität und ähnliches. Aus der Berücksichtigung der
Nebenbedingungen stammt sowohl die Wahl der Betriebsimpedanzen der Koppelkreise als auch der
Anpassungsfaktor. Die Nebenbedingungen erfordern immer eine Uberanpassung, das heißt, der in den
Generatorkreis verkoppelte wirksame Lastwiderstand ist größer als der Generatorwiderstand. Oder die
Auskoppelwicklung hat weniger Windungen als die für Leistungsmaximum erforderliche. Die großen
Werte der Schwingkreiskapazitäten verhindern unzulässige Verstimmungen, welche sich durch Änderung Zwischenfrequenzverstärkerteil der· Kollektorausgangskapazität bei sinkender Betriebsspannung ergeben. Die niedere Zwischenfrequenz (461 KHz) wird über Einzelkreise geführt und jeweils durch einen kapazitiven Spannungsteiler an den Transistoreingangswiderstand der folgenden ZF-Stufe angepaßt. Die Auskoppelimpedanz dieses Teilers liegt in der Größenordnung von 10 Ohm. Damit sind Einflüsse, die sich durch.die Streuung des Basiseingangswiderstandes auf die Verstärkung ergeben, praktisch völlig ausgeschaltet.
Die in den Kollektorzuleitungen liegenden Widerstände R 16 und R 21 dienen zur Kompensation der
dynamischen Kollektorkapazität und .verhindem Unstabilitäten bei stärkeren Signalen. Die Stabilisierung des Arbeitspunktes der einzelnen ZF-Stufen wird durch relativ große Emitterwiderstände (R 10, R 15 und R 20) erreicht. Die erzielte Spannungsverstärkung pro Stufe beträgt etwa 10. Siehe auch die Pegeltabelle.
Der Demodulator
Zur Demodulation der FM-Signale wird ein Ratiodetektor verwendet, der mit zwei Germaniumdioden aufgebaut ist. Als Widerstand für die AM-Unterdrückung dient R 23 mit 2,2 kOhm. Eine Verstärkungsregelung ist auf UKW nicht vorgesehen. Bei starken UKW-Signalen wird durch Ubersteuern der Transistoren eine Vorbegrenzung erzielt.
Bei AM erfolgt die Gleichrichtung in gewohnter Weise mittels einer Diode. Bedingt durch den relativ
geringen Transistoreingangswiderstand der ersten NF-Stufe muß auch der Diodenrichtwiderstand R 21
einen kleinen Wert besitzen, damit keine Verzerrungen durch Amplitudenbeschneidung eintreten..
Gegenüber Röhrengeräten ist hier die Diode umgekehrt gepolt, damit die zur Regelung benötigte positive Richtspannung erhalten wird.
Die Regelung
Der mittlere Diodenstrom ist abhängig von der ZF-Amplitude und wird deshalb zur automatischen Verstärkungsregelung herangezogen. Die am Diodenrichtwiderstand R 27 stehende Spannung wird gesiebt (R 29, C 53) und über den Widerstand R 14 der Basis des ersten ZF-Transistors zugeführt. Die Regelung der Verstärkung erfolgt auch hier wie bei Röhren durch Änderung der Steilheit (Änderung des Emitterstromes).
Bei starken AM-Signalen ist allerdings die Regelung einer einzigen Stufe zu gering, so daß ein zweiter Regelmechanismus verwendet werden muß. Ab einer bestimmten Eingangsspannung wird der erste AM-ZF-Kreis durch eine leitende Diode gedämpft. Dadurch wird bei starkem Signal nicht nur die Verstärkung herabgesetzt, sondern auch die Bandbreite vergrößert. Dieser Effekt ist aus Gründen der Wiedergabegüte bis zu einem gewissen Grad erwünscht. Der Schaltzustand der Diode ist von der an ihr liegenden Spannung abhängig. Diese Spannung wird bestimmt durch die Kollektorspannung des zweiten Transistors OC170 (Spannungsabfall an R 13 = 1 Volt) und durch den Spannungsabfall am Kollektorwiderstand R 17 des ersten ZF-Transistors OE1702. Die beiden Widerstandswerte sind so gewählt, daß ohne Eingangssignal eine Spannung von etwa -2 Volt an der Diodenanode liegt und die Diode gesperrt ist.
Durch Regelung des Transistors OC1702 zufolge des über R 14 der Basis zugeführten Regelstromes verringert sich auch der Kollektorstrom und damit auch die an R 14 abfallende Bezugsspannung für die Diode. Ab etwa 100 µV ist diese Spannnung genau so groß wie die Spannung an R 13, die Diode wird leitend und legt das ZF-Signal über die Impedanz der beiden Kondensatoren C 60 und C 61 an Masse. Dadurch wird eine sehr wirkungsvolle Regelung erzielt.
In den ersten gelieferten Geräten fehlt die Kombination R 42, C 60 und C 61. An der Wirkungsweise hat sich vorerst nichts geändert, denn die Ableitung des ZF-Signals erfolgt jetzt über die Kreiskapazität C 36 des zweiten AM-Filters an Masse.
Im Nahbereich starker Sender, also bei sehr hohen Eingangsspannungen funktioniert die getroffene Anordnung jedoch nicht mehr. Dann passiert folgendes: Uber die leitende Diode wird vom Kollektor des Mischtransistors eine derart hohe ZF-Spannung in den zweiten ZF-Kreis eingespeist, daß das Gerät übersteuert wird. In diesem Fall wird also die geregelte ZF-Stufe überhaupt umgangen. Zur Verhinderung dieser direkten Verbindung beider ZF-Trafos wurde das erwähnte Siebglied R 42, C 60, C 61 eingebaut. Im Detailschaltbild ist der Weg der direkten Regelung stark eingetragen und die verzögerte Regelung strichpunktiert. Die abgebildete Regelkurve zeigt sehr deutlich den Einsatzpunkt der Dämpfungsdiode bei 100 µV.
Der NF-Verstärker
Der NF-Teil ist in der bis Ende 1960 gelieferten Ausführung zweistufig aufgebaut (Schaltbild)
in der neuen Ausführung jedoch dreistufig. Zur Vergrößerung der NF-Verstärkung wurde eine weitere Transistorstufe vorgesehen, welche in R-C-Kopplung den Treibertransistor versorgt. Das am Lautstärkeregier benötigte Eingangssignal für eine Ausgangsleistung von 50 mWatt am Lautsprecher beträgt in der ersten Ausführung 2,5 mVolt, in der neuen Ausführung etwas weniger als 1 mVolt. Die höhere NF-Verstärkung kommt vor allem dem UKW-Empfang zugute, da hier dem NF-Teil vom Ratio-Detektor eine geringere NF-Spannung angeboten wird als vom Demodulator der AM-Bereiche.
Der Lautstärkeregier ist über einen Elektrolytkondensator C 51 gleichstromfrei an die beiden Demodulatorkreise angeschlossen. Ein weiterer Elko C 52 riegelt die Basisgleichspannung des Treibertransistors gegen den Schleifer des Potentiometers ab. Im Kollektorkreis befindet sich in der bisherigen Ausführung der Treibertransformator T 1, der durch die Mittelanzapfung auf der Sekundärseite eine symmetrische Ansteuerung der Klasse B-Gegentaktendstufe gewährleistet. Uber diese Anzapfung werden die beiden Basisanschlüsse der Endtransistoren mit der entsprechenden Vorspannung versorgt. Der Basisspannungsteiler R 36. R 37 ist sehr niederohmig, um das Basispotential gegenüber Änderungen der elektrischen Werte der beiden Endtransistoren möglichst fest zu halten. Die Streuungen der für die Arbeitspunkteinstellung entscheidenden Größen der beiden Endtransistoren wurden in den Geräten durch fallweise Änderung des Widerstandes R 36 von 82 Ohm auf 100 Ohm ausgeglichen. Der Ruhestrom der Endstufe bei 9 Volt Versorgungsspannung beträgt 8 mA (beide OC74).
Der Betrieb des Gerätes führt zu einer Erwärmung der beiden Endtransistoren. Durch das Aufheizen der Sperrschicht vergrößert sich der Kollektorstrom und die Verlustleistung steigt. Zur Vermeidung von
Instabilität sind deshalb die beiden Endtransistoren mit Kühlblethen versehen und in den Emitterleitungen befinden sich kleine ohmsche Widerstände R 38, R 39. Diese verringern bei steigendem Kollektorstrom die Basis-Emitterspannungen. Die Einstellung der beiden Endtransistoren ist so getroffen, daß bei 9 Volt Betriebsspannung 225 mWatt Ausgangsleistung verzerrungsfrei (5 % Klirrfaktor) erhalten werden.
Anlagen nach dem Öffnen ein Mal klicken, um die volle aber von mir verkleinerte Grösse zu erhalten.
Anlagen:- Blockschaltbild mit 1600 Pixel Breite (statt 600) (49 KB)
- ZF-Verstärkerteil Total (statt aufgeteilt in 2) 1600 Pixel (59 KB)
- Titelblatt Minerva Zeitschrift Januar 1960 (verkleinert 933 hoch) (95 KB)
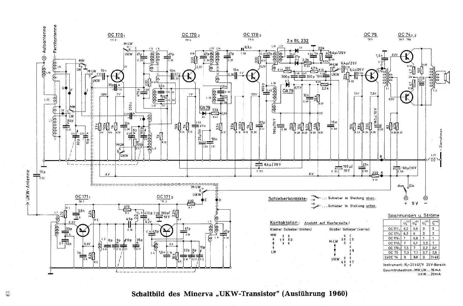
- Gesamtschaltplan Minerva UKW-Transistor 611 (auf 1600 Pixel verkleinert) Original auf Modell (70 KB)
- Reparaturhinweise für Transistorgeräte (Seite 4, verkleinert auf 933 Pixel Breite) (120 KB)
Für diesen Post bedanken, weil hilfreich und/oder fachlich fundiert.