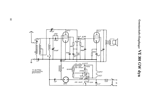
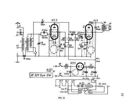
Volksempfänger VE 301 Dyn GW
Hagenuk (N&K), Hanseatische App.bau-Ges., Neufeldt & Kuhnke, Nordmark
- Pays
- Allemagne
- Fabricant / Marque
- Hagenuk (N&K), Hanseatische App.bau-Ges., Neufeldt & Kuhnke, Nordmark
- Année
- 1939/1940
- Catégorie
- Radio - ou tuner d'après la guerre 1939-45
- Radiomuseum.org ID
- 216729
Cliquez sur la vignette du schéma pour le demander en tant que document gratuit.
- No. de tubes
- 3
- Principe général
- Récepteur TRF - par réaction (régénératif); 1 Etage(s) BF
- Circuits accordés
- 1 Circuits MA (AM)
- Gammes d'ondes
- PO et GO
- Tension / type courant
- Appareil tous courants (CA / CC) / 110-220 Volt
- Haut-parleur
- HP dynamique à aimant permanent + bobine mobile
- Matière
- Boitier en bakélite
- De Radiomuseum.org
- Modèle: Volksempfänger VE 301 Dyn GW - Hagenuk N&K, Hanseatische App.
- Forme
- Modèle de table vertical (pas forme catédrale)
- Dimensions (LHP)
- 273 x 315 x 185 mm / 10.7 x 12.4 x 7.3 inch
- Remarques
- Der VE301 Dyn GW ist gewissermaßen die "Luxusausführung" des Allstrom-Volksempfängers mit beleuchteter Linearskala und dynamischem Lautsprecher.
Da nur Rückwand und meist das Typenschild den Hersteller zeigen, kann nicht immer nach diesem sortiert werden. Im übrigen sind die Produkte der verschiedenen Hersteller identisch.
Eine Auflistung aller deutschen Hersteller ist hier zu finden.
- Poids net
- 4.4 kg / 9 lb 11.1 oz (9.692 lb)
- Auteur
- Modèle crée par Konrad Birkner † 12.08.2014. Voir les propositions de modification pour les contributeurs supplémentaires.
- D'autres Modèles
-
Vous pourrez trouver sous ce lien 179 modèles d'appareils, 144 avec des images et 70 avec des schémas.
Tous les appareils de Hagenuk (N&K), Hanseatische App.bau-Ges., Neufeldt & Kuhnke, Nordmark
Collections
Le modèle Volksempfänger fait partie des collections des membres suivants.