- Country
- Germany
- Manufacturer / Brand
- Seibt, Dr. Georg (Nachf.); Berlin, auch München
- Year
- 1939/1940
- Category
- Broadcast Receiver - or past WW2 Tuner
- Radiomuseum.org ID
- 5691
Click on the schematic thumbnail to request the schematic as a free document.
- Number of Tubes
- 5
- Main principle
- Superheterodyne (common); ZF/IF 468 kHz
- Tuned circuits
- 7 AM circuit(s)
- Wave bands
- Broadcast, Long Wave and Short Wave.
- Power type and voltage
- AC/DC-set / 180/250 Volt
- Loudspeaker
- Permanent Magnet Dynamic (PDyn) Loudspeaker (moving coil)
- Material
- Wooden case
- from Radiomuseum.org
- Model: 22GW - Seibt, Dr. Georg Nachf.;
- Dimensions (WHD)
- 475 x 413 x 297 mm / 18.7 x 16.3 x 11.7 inch
- Net weight (2.2 lb = 1 kg)
- 11.5 kg / 25 lb 5.3 oz (25.33 lb)
- Price in first year of sale
- 220.00 RM
- Source of data
- Handbuch WDRG 1939 / Radiokatalog Band 1, Ernst Erb
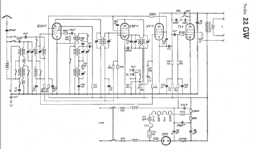
- Circuit diagram reference
- Lange+Schenk+FS-Röhrenbestückung
- Picture reference
- Das Modell ist im «Radiokatalog» (Erb) abgebildet.
- Other Models
-
Here you find 416 models, 357 with images and 204 with schematics for wireless sets etc. In French: TSF for Télégraphie sans fil.
All listed radios etc. from Seibt, Dr. Georg (Nachf.); Berlin, auch München