Opta 240W
Loewe-(Opta); Deutschland
- Paese
- Germania
- Produttore / Marca
- Loewe-(Opta); Deutschland
- Anno
- 1939–1941
- Categoria
- Radio (o sintonizzatore del dopoguerra WW2)
- Radiomuseum.org ID
- 2651
-
- alternative name: Löwe Radio
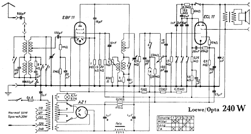
Clicca sulla miniatura dello schema per richiederlo come documento gratuito.
- Numero di tubi
- 3
- Principio generale
- A circuiti accordati (amplif. diretta) con rivelazione a diodo; 2 Specialità; 1 Stadi BF; Apparecchiatura speciale (descrivere nelle note)
- N. di circuiti accordati
- 2 Circuiti Mod. Amp. (AM)
- Gamme d'onda
- Onde medie (OM) e onde lunghe (OL).
- Tensioni di funzionamento
- Alimentazione a corrente alternata (CA) / 110; 127; 150; 220; 240 Volt
- Altoparlante
- AP elettrodinamico (bobina mobile e bobina di eccitazione/di campo)
- Materiali
- Bachelite
- Radiomuseum.org
- Modello: Opta 240W - Loewe-Opta; Deutschland
- Forma
- Soprammobile basso, con andamento orizzontale (grosse dimensioni).
- Dimensioni (LxAxP)
- 560 x 295 x 225 mm / 22 x 11.6 x 8.9 inch
- Annotazioni
- Stromsparschaltung.
- Peso netto
- 10.5 kg / 23 lb 2 oz (23.128 lb)
- Prezzo nel primo anno
- 155.00 RM
- Fonte dei dati
- Handbuch WDRG 1939 / Radiokatalog Band 1, Ernst Erb
- Riferimenti schemi
- Lange+Schenk+FS-Röhrenbestückung
- Bibliografia immagini
- Das Modell ist im «Radiokatalog» (Erb) abgebildet.
- Altri modelli
-
In questo link sono elencati 1645 modelli, di cui 1382 con immagini e 1188 con schemi.
Elenco delle radio e altri apparecchi della Loewe-(Opta); Deutschland