Leistungs-Meßsender SML (BN4100)
Rohde & Schwarz, PTE; München
- Country
- Germany
- Manufacturer / Brand
- Rohde & Schwarz, PTE; München
- Year
- 1941–1951 ?
- Category
- Service- or Lab Equipment
- Radiomuseum.org ID
- 120653
-
- alternative name: Messgerätebau Memmingen || Physikalisch-Technisches Entwicklungslabor Dr. Rohde & Dr. Schwarz
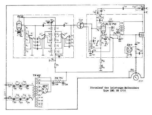
Click on the schematic thumbnail to request the schematic as a free document.
- Number of Tubes
- 4
- Wave bands
- Wave Bands given in the notes.
- Power type and voltage
- Alternating Current supply (AC) / 220 Volt
- Loudspeaker
- - - No sound reproduction output.
- Material
- Metal case
- from Radiomuseum.org
- Model: Leistungs-Meßsender SML - Rohde & Schwarz, PTE; München
- Shape
- Tablemodel, low profile (big size).
- Dimensions (WHD)
- 350 x 265 x 265 mm / 13.8 x 10.4 x 10.4 inch
- Notes
- Frequenzbereich 100kHz bis 10 MHz (unterteilt in fünf Bereiche).
Ausgangsspannung: regelbar von 250 mV bis 10 V an 150 Ohm.
Fremdmodulation 50 Hz bis 10 kHz
Modulations-Spannungsbedarf ~0,25V/% Modulationsgrad.
- Net weight (2.2 lb = 1 kg)
- 13 kg / 28 lb 10.1 oz (28.634 lb)
- Literature/Schematics (1)
- -- Original-techn. papers.
- Author
- Model page created by Bernhard Nagel. See "Data change" for further contributors.
- Other Models
-
Here you find 557 models, 516 with images and 258 with schematics for wireless sets etc. In French: TSF for Télégraphie sans fil.
All listed radios etc. from Rohde & Schwarz, PTE; München
Collections
The model Leistungs-Meßsender is part of the collections of the following members.
Forum contributions about this model: Rohde & Schwarz, PTE: Leistungs-Meßsender SML
Threads: 1 | Posts: 3
Im Rohde & Schwarz Leistungs-Meßsender SML ist in rechter Seitenwand der HF-Ausgang in einer mir unbekannten Norm aufgebaut.

Der Aussendurchmesser beträgt ca. 23 mm, die innere Buchse (im Porzellan-Isolator) hat die üblichen 4 mm Durchmesser. Kennt jemand diesen Anschluß oder hat ein passendes Stecker-Gegenstück in seinem Fundus? Weiterhin suche ich das (ausführliche) Schaltbild und weitere Unterlagen hierzu, ausser einem Blockschema und Datenblatt (beim Modell) liegt mir nichts vor. Danke für jede Hilfe!
Bernhard Nagel, 24.Nov.08